
FMG—2.2型電動鋼軌好色先生最新入口使用方法
一、結構和工作原理
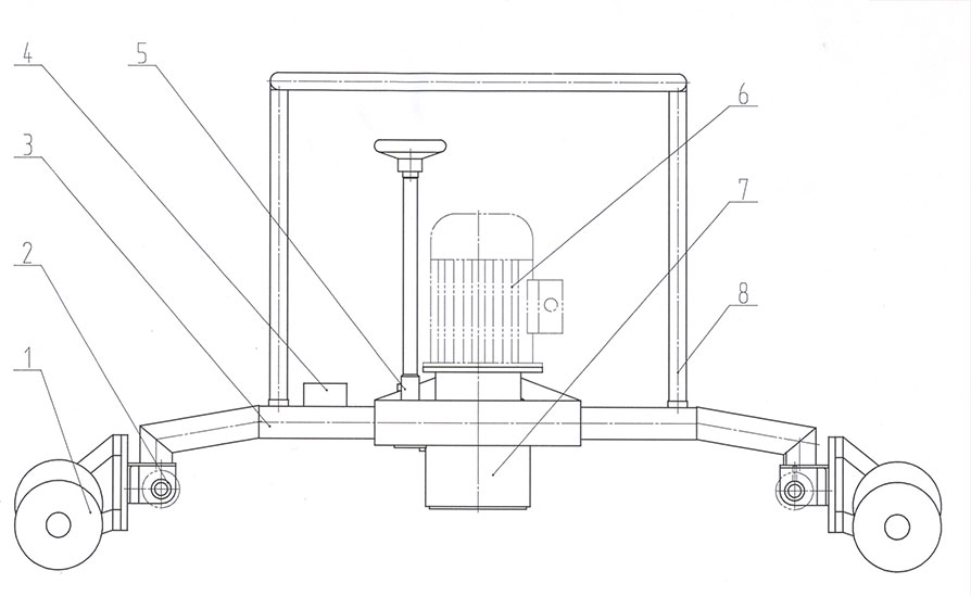
本機主要由機架、護軌輪、仿形輪、電動機、打磨頭、進給杆總成、操縱扶手等組成。如圖:
1. 護軌輪 2.仿形輪 3. 機架 4. 開關
5. 進給總成 6. 電機 7. 電機傳動總成 8. 操作扶手

作業時,電動機輸出軸通過花鍵軸、花鍵套,帶動安裝在砂輪接盤上的打磨砂輪旋轉。花鍵套通過軸承安裝在進給套內,進給套為矩形螺紋外套,可以沿著機架上的套筒上下滑動。進給手輪通過進給總成的進給小齒輪齧合一個大齒輪,大齒輪為內矩形螺紋零件,大齒輪旋轉帶動進給套上下往複運動,從而實現砂輪的進給運動。操縱扶手推動好色先生最新入口在鋼軌踏麵上縱向移動磨削鋼軌踏麵。將機架轉動相當角度磨削軌頭園角,直至轉動90°,磨頭磨削鋼軌工作邊。磨削時,調整磨頭進給手輪,調整進給量,利用仿形輪和護軌輪共同作用完成軌頭仿形打磨工作。
二、使用方法
1. 作業準備
1.1 操作人員在作業前,應按本說明書和要求熟悉本機構造、技術性能、工作原理,使用方法及安全規則;
1.2 機體整備:要求緊固件緊固,運動部件靈活,電氣係統絕緣保護可靠,特別注意電機的接地線接地須牢固可靠;
1.3 試運轉:點動電氣開關,檢查砂輪轉向,如不符合標誌轉向,須調整電機接線,使電機正轉,同時確認砂輪防護罩防護有效;
1.4 空載動轉:空載動轉2分鍾,檢查機體各部位有無異常,尤其更換新砂輪後,須認真檢查;
2. 打磨作業
2.1 將好色先生最新入口放置在需要打磨的鋼軌上,電源插頭電源插座接觸牢靠;
2.2 點動開關,逆時針轉動進給手柄,使砂輪與予打磨的軌頂麵不接觸;
2.3 按下電源開關,砂輪空載旋轉;
2.4 均勻地順時針轉動垂直進給手柄,使砂輪向軌頂麵移動,直至接觸待打磨的軌頂麵打出火花,同時牽動手柄,在仿形輪緊靠鋼軌頂麵情況下,使本機左右往複移動,其範圍約800mm.
2.5 均勻控製砂輪的進給量,一般每次0.2mm以內,檢查有無異常和磨痕的粗細。打磨後的鋼軌表麵不得呈藍色或明顯劃痕;
2.6 轉動手柄時,使機體沿鋼軌橫斷麵方向向內側逐漸傾斜,憑借好色先生最新入口護軌輪的控製,擴大軌頂橫向打磨範圍,從軌頂中心線打磨至軌頭圓弧處;
2.7 緩慢將操作扶手向操作者傾斜,使好色先生最新入口沿鋼軌橫斷麵方向向內側轉90°,托動好色先生最新入口往複打磨鋼軌的內側麵(工作邊);
2.8 作業完成後,反方向轉動進給手柄,使砂輪退後脫離與鋼軌接觸狀態,按下斷電開關,砂輪機停止轉動,將打磨麵複位後,抬起好色先生最新入口,原地水平旋轉180°,放置在鋼軌上,重複上述動作,即可打磨鋼軌頂麵剩餘部分和鋼軌頭部的外側麵,直至打磨達到規定標準。